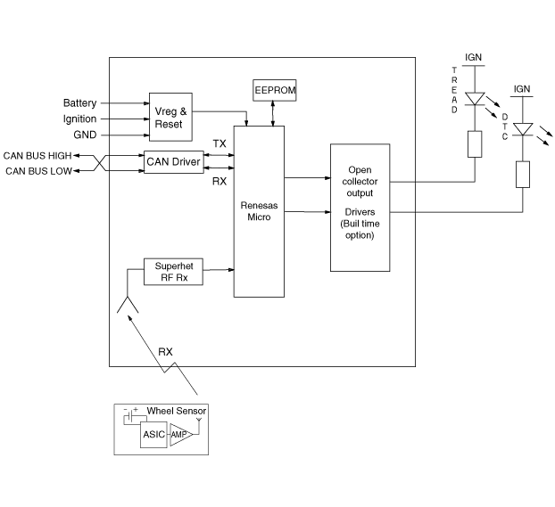
| Schéma du circuit |

| Connecteur de faisceau |

|
N° de broche |
DESCRIPTION |
REMARQUE |
|
1 |
- |
|
|
2 |
- |
|
|
3 |
- |
|
|
4 |
Masse du véhicule |
|
|
5 |
CAN Haut |
|
|
6 |
BATTERIE |
|
|
7 |
- |
|
|
8 |
- |
|
|
9 |
- |
|
|
10 |
- |
|
|
11 |
CAN Bas |
|
|
12 |
Allumage |
|
Composants et emplacement des composants
Description et fonctionnementVérifier le niveau de fluide frigorigène dans le climatiseur et de lubrifiant
dans le compresseur
Quand le volume de liquide frigorigène est bas, le rendement du climatiseur s'en
trouve réduit. Surcharger peut aussi avoir un impact négatif sur le système de climatisation.
Donc si un fonctionnement anormal est noté, faites inspecter le système chez
un concessionnaire Kia agréé.
AVER ...
Utilisation d'un cellulaire ou d'une radio bidirectionnelle
L'utilisation d'un téléphone cellulaire dans le véhicule peut faire interférence
avec l'équipement radio. Cela ne veut pas dire que l'équipement faite défaut. Dans
ce cas, essayez de faire fonctionner les appareils mobiles le plus loin possible
de l'équipement audio.
Quand on utilise ...